
力芯微公告,为温暖无锡市力鼎创业投资结伴企业(有限结伴)的业务发展需要开云·kaiyun平台登录入口,公司拟以自有资金对力鼎基金增资5,000万元。增资完成后,力鼎基金注册资金由10,000万元变更为15,000万元,其中公司当作有限结伴东谈主认缴出资总和由本来9,900万元增至14,900万元,所占份额由本来99.00%增至99.33%。
举报 第一财经告白互助,请点击这里此执行为第一财经原创,著述权归第一财经统共。未经第一财经籍面授权,不得以任何容貌加以使用,包括转载、摘编、复制或修复镜像。第一财经保留淡雅侵权者法律连累的权力。 如需取得授权请筹谋第一财经版权部:021-22002972或021-22002335;banquan@yicai.com。 关系阅读
中金公司:收到中国证监会行政事理决定书公司在为念念尔芯科创板IPO提供保荐办事经过中未勤奋尽职,出具的《刊行保荐书》等文献存在失实记录。
251 12-20 23:03
主力本日尾盘交易这些个股主力本日尾盘交易这些个股
0 12-16 15:59
供销大集本日涨停 中信证券北京总部席位净买入7957.71万元供销大集本日涨停 中信证券北京总部席位净买入7957.71万元
0 11-12 16:29
小米SU7 Ultra预售价81.49万元小米SU7 Ultra预售价81.49万元
79 10-29 22:16
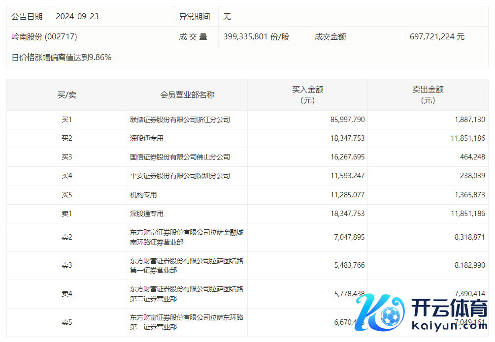
岭南股份本日涨停 联储证券浙江分公司席位净买入8411.07万元开云·kaiyun平台登录入口岭南股份本日涨停 联储证券浙江分公司席位净买入8411.07万元
0 09-23 16:33 一财最热 点击关闭Powered by 开云·Kaiyun(中国)官方网站-科技股份有限公司 @2013-2022 RSS地图 HTML地图